Jóváhagyta a hatóság a Tesla lézeres ablaktörlőjét

Ablaktörlőlapátok helyett lézersugarak tartanák tisztán a szélvédőt a szennyeződésektől.

 

Csaknem két év telt el azóta, hogy a Tesla szabadalmi kérvényt nyújtott be azzal kapcsolatban, hogy a hagyományos ablaktörlőlapátokat olyan lézerekre cseréljék, amelyek eltávolítják a különféle szennyeződéseket a szélvédőről. Meglehetősen vad ötletnek tűnik, ám az Egyesült Államok Szabadalmi és Védjegy Hivatala (USPTO) áldását adta a megoldásra.

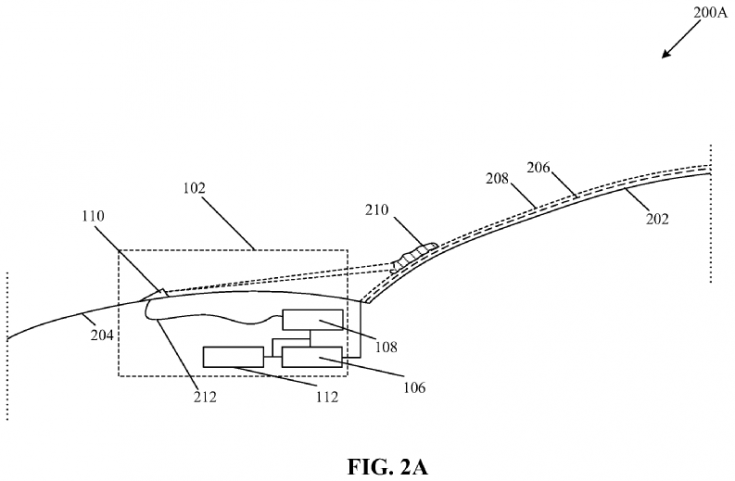
A Tesla ezt a technológiát „a járművek és fotovoltaikus szerelvények üvegfelületein felhalmozódott szennyeződés impulzusos lézertisztításának” nevezi. Vagyis a rendszer olyan sugároptikai egységeket tartalmaz, amelyek lézersugarat bocsátanak ki, hogy eltávolítsák a szennyeződéseket az autó üvegfelületeiről, amelyeket érzékelő áramkörökkel látnak el. Ezek folyamatosan monitoroznák az autó üvegfelületeit, mint például a szélvédőt, és ha bármelyiket szennyeződés éri, akkor működésbe lép a lézersugár, hogy letisztítsa azokat.

A szabadalomból kiderül, hogy miután a rendszer érzékeli a szennyeződést, beállítja a megfelelő paramétereket, és az impulzus intenzitását a lézersugár számára, amely eltávolítja a felgyülemlett koszt, piszkot, szennyeződést az üvegfelületekről.

Tesla lézeres ablaktörlő szabadalom

Tesla lézeres ablaktörlő működésének felvázolása

A szélvédő mellett a Tesla elképzelései szerint a lézerek segítségével fogják tisztán tartani például az Autopilot rendszer kameráinak lencséit is. Ugyanakkor a lézeres technológiát nem kizárólag az autók esetében alkalmaznák, mivel a kaliforniai cég elmondása alapján a házak tetejére telepített napelemek tisztítására is tökéletesen használható. A legtöbb esetben szabad ég alatt elhelyezett napelemek is koszolódnak, a lerakódó szennyeződések pedig leronthatja a rendszer hatásfokát, így elengedhetetlen azok tisztítása.

Amikor 2017-ben bemutatták a Cybertruck prototípusát, az elektromos pickup egyáltalán nem rendelkezett ablaktörlőlapátokkal. Amikor a Tesla benyújtotta a szabadalmi kérvényt, azonnal szárnyra kaptak olyan találgatások, hogy a lézeres technológiát az elektromos platós számára fejlesztik. Azóta azonban több olyan szabadalom is napvilágot látott, amelyek arra engednek következtetni, hogy a Palo Altó-i cég futurisztikus megjelenésű, elektromágneses elven működő ablaktörlőket fejleszt a Cybertruck számára.

Annak ellenére, hogy a szabadalmat jóváhagyta az amerikai hatóság, még nem feltétlenül jelenti azt, hogy a Tesla modelljeiben hamarosan már lézerek gondoskodnak majd a szélvédő tisztításáról a klasszikus ablaktörlőlapátok helyett. Ugyanis számos olyan szabadalmat jegyeztettek már be az autógyártók az évek során, melyekből aztán nem lett semmi, és egy-egy forradalminak ígérkező technológiai megoldás végül el sem jutott a gyártósorig.

 

Forrás: alapjarat.hu

Szerző: Kóti Gergő

2021.09.16.